Шинный калькулятор

Старый размер Новый размер
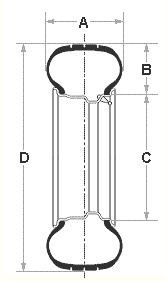
Характеристики шины Размеры Старый Новый Разница
A (мм)
C (мм)
D (мм)
Изменение клиренса (мм)
 
Показания спидометра Реальная скорость Разница
Вы можете поменять значение в графе "Показания спидометра" шинного калькулятора для того, чтобы посмотреть погрешность при разных скоростях.

Данный расчет размеров шин носит теоретический характер. Без крайней необходимости не устанавливайте шины, не рекомендованные производителем.

Перед установкой шин следует:

  • удостовериться, что желаемое изменение не вызовет никаких проблем (габариты, механика, кузов...);
  • следить, чтобы вновь монтируемые шины соответствовали действующим правилам;
  • проверить, чтобы диаметр и ширина обода соответствовали параметрам шины.

Помните также, что при изменении размеров шины, как правило, изменяется индекс нагрузки.